摘要
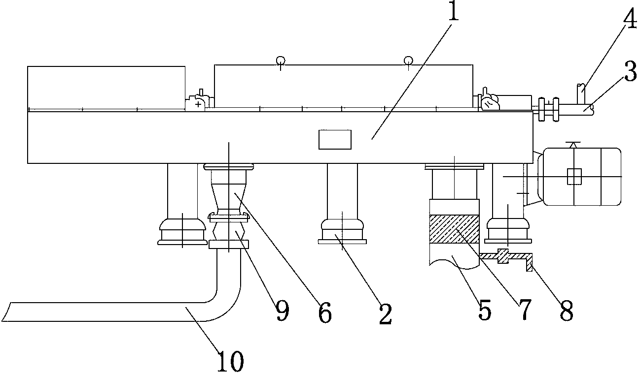
本實用新型涉及*種新型污水處理用離心設備,其包括離心機本體、支架、物料管、清水管、出渣管以及出液管;其中,所述離心機本體水平設置在支架上;所述物料管連接*離心機本體的*端;所述清水管連接*物料管上;所述出渣管和出液管分別安裝于離心機本體的底部;于所述出渣管上設有*段透明觀察管以及*堵料放空閥。本實用新型的新型污水處理用離心設備通過在出渣管上增設透明觀察管和堵料放空閥,從而能夠清楚的看到出渣管是否堵料,并能通過堵料放空閥進行放空卸料,節約了設備維修時間,提高了生產效率。
摘要附圖

權利要求書
1.*種新型污水處理用離心設備,其.征在于:包括離心機本體、支架、物料管、清水管、出渣管以及出液管;其中,所述離心機本體水平設置在支架上;所述物料管連接*離心機本體的*端;所述清水管連接*物料管上;所述出渣管和出液管分別安裝于離心機本體的底部;于所述出渣管上設有*段透明觀察管以及*堵料放空閥。
2.如權利要求1所述的新型污水處理用離心設備,其.征在于:所述出液管上連接有*能彎曲的橡膠接頭,該橡膠接頭上連接有*排液管。
說明書
*種新型污水處理用離心設備
技術*域
本實用新型涉及*種污水處理的配套設備,具體涉及*種新型污水處理用離心設備,屬于污水處理設備技術*域。
背景技術
在污水處理過程中,需要使用離心機對污水處理產生的污泥進行脫水。然而,現有技術的離心機的出渣口容易造成堵塞,且堵塞后不能被及時發現,使堵料清理麻煩,影響生產效率。
因此,為解決上述技術問題,確有必要提**種新型污水處理用離心設備,以克服現有技術中的所述缺陷。
實用新型內容
為解決上述技術問題,本實用新型的目的在于提**種結構簡單,能夠清楚看到是否堵料,且堵料清理方便的新型污水處理用離心設備。
為實現上述目的,本實用新型采取的技術方案為:*種新型污水處理用離心設備,其包括離心機本體、支架、物料管、清水管、出渣管以及出液管;其中,所述離心機本體水平設置在支架上;所述物料管連接*離心機本體的*端;所述清水管連接*物料管上;所述出渣管和出液管分別安裝于離心機本體的底部;于所述出渣管上設有*段透明觀察管以及*堵料放空閥。
本實用新型的新型污水處理用離心設備進*步設置為:所述出液管上連接有*能彎曲的橡膠接頭,該橡膠接頭上連接有*排液管。
與現有技術相比,本實用新型具有如下有益效果:本實用新型的新型污水處理用離心設備通過在出渣管上增設透明觀察管和堵料放空閥,從而能夠清楚的看到出渣管是否堵料,并能通過堵料放空閥進行放空卸料,節約了設備維修時間,提高了生產效率。